Roemheld Block Extending Clamps
1000 or 1500 psi maxDouble Acting
Standard or Self-Locking
Lever arm slides straight forward into clamping position, then pivots to clamp down. Clamping direction can be set to any angle within 360°. Ideal for clamping in slots or bored holes. Clamping insert can be easily removed and adapted to different workpieces. Rugged design uses a wedge assembly to provide high force with excellent protection against flood coolant and chips (the interior of the clamp is hermetically sealed to the exterior). Lever arm is designed to resist side forces at the clamping point. Dual mounting capability: all clamps are ready for standard fittings and manifold mounting.
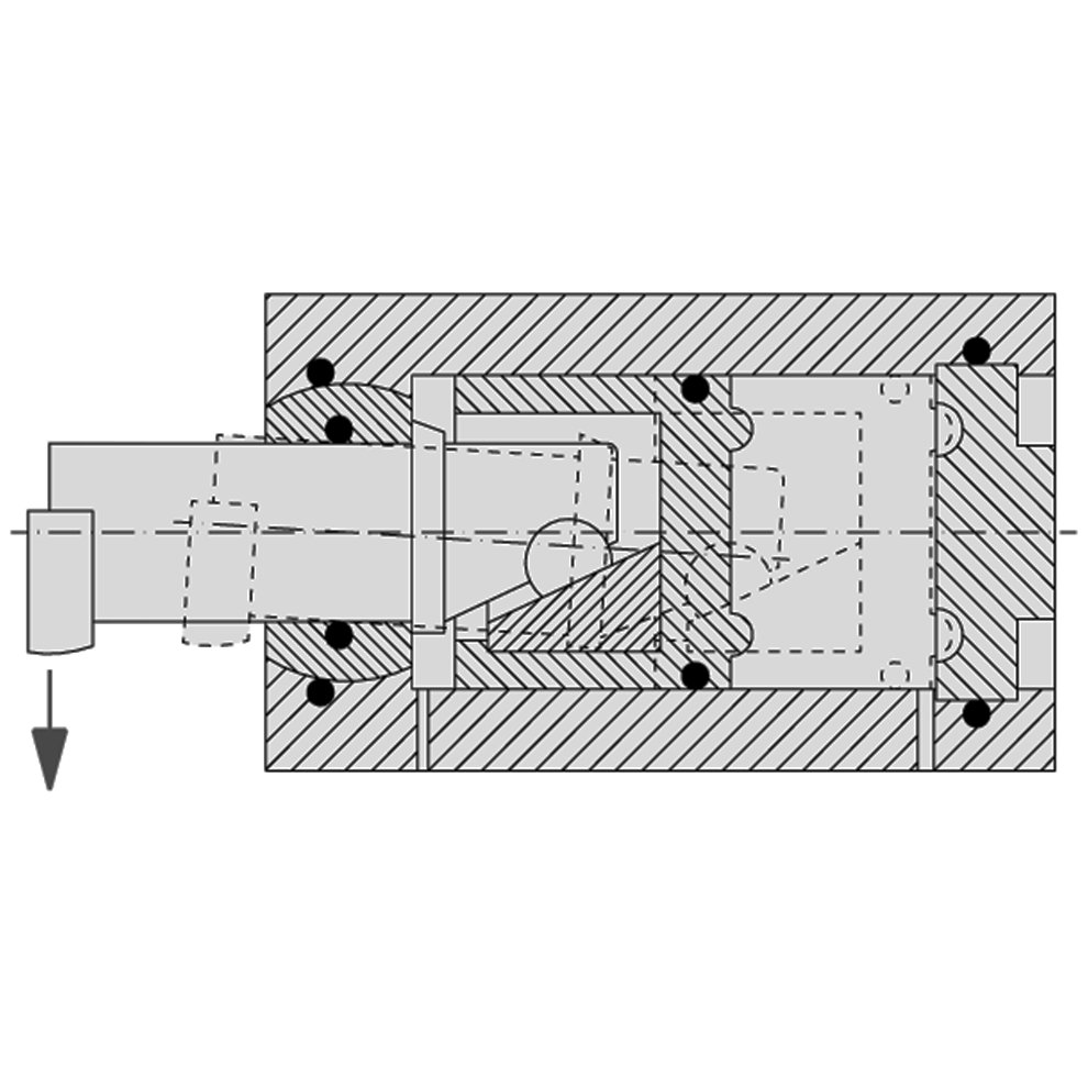
Clamping Action
Applying fluid pressure to the A (clamping) port advances the piston, which in turn advances the clamping arm via a wedge assembly until the arm reaches a positive stop, then pivots the arm to apply clamping force. Switching pressure to the B (unclamping) port positively retracts the piston and the clamping arm.
Clamping direction can be set to any angle within 360°. To change the angle, fully retract the clamping lever, then turn the cylinder cover to the desired angle.

Optional Self-Locking Version
The self-locking version of this clamp is particularly suited for clamping on pallets which are disconnected from their power source. Full clamping force is maintained on disconnected pallets or if fluid pressure drops for any reason. Please note: maximum clamping force is lower on the self-locking version due to its shallower, self-locking wedge angle.
Design Considerations
The linear motion of the clamping lever over the workpiece should not be impeded; otherwise the arm will not contact its positive stop and will exert transverse force on the workpiece after contact. If clamps with the optional self-locking feature are decoupled from their power source after clamping, e.g. on pallets, we recommend installing an accumulator in order to guarantee a re-clamping effect.
Mounting & Fluid Supply
Fasten using four socket-head cap screws. Two 1/8" BSPP ports (clamp size 1) or two 1/4" BSPP ports (clamp size 2), A for clamping, B for unclamping. For optional manifold mounting, use the A and B O-ring ports underneath the clamp instead of the standard ports. Unscrew the sealing plug in each O-ring port and install a CLR-3000-343-SW O-ring (also install a CLR-811-F Port Plug in each 1/8" BSPP port, or a CLR-810-F Port Plug in each 1/4" BSPP port). Do not use NPT fittings.
Material
| Material | Heat Treat | Finish |
| Steel | - | - |
Parts Specification
| Clamp Size | Version | Maximum Clamping Force (lbs) | Maximum Clamping Force (kn) | Maximum Operating Pressure (PSI) | A Block Length (mm) | B Overall Width (mm) | C Overall Height (mm) |
| 2 | With Self-Locking | 4200 lbs. | 18.5 kN | 1500 PSI | 126mm | 88mm | 75mm |
Warning:
This product can expose you to materials and/or chemicals including arsenic, lead, and other materials and/or chemicals which are known to the state of California to cause cancer and/or reproductive harm.
For more information, visit www.P65Warnings.ca.gov
714.897.1700
Chat
Email
Quotes
Quick Order